Skip navigation

Cyberspit Amicale Spitfire
Bienvenue sur Cyberspit !

  Ce forum est réservé aux discussions autour des Triumphs.
Lisez-moi
Recherche :


Uniquement dans ce fil

Retour à la liste des messages | Dernier message
bernard

31/01/2023
00:16
GORGE CREMAILLERE
(Le fichier "20230130_220723.jpg" est trop volumineux ou le nombre d'élement maximum est dépassé et n'a pas été enregistré)

Bonjour je fais de nouveau appel a vous , je suis toujours en rénovation sur ma spit 1500 actuellement sur la crémaillère en attente des pièces je scrute les revues techniques et le forum j ai trouvé de bon conseil pour le remontage mais il me reste un doute au fond du logement du pignon j ai une bague avec rainures verticale et horizontale sur le corps inferieur du pignon aucune clavette ou autre j espère etre clair et que la photo va se charger.
merci a vous
bernard

31/01/2023
00:18
re : GORGE CREMAILLERE
(Le fichier "20230130_220723.jpg" est trop volumineux ou le nombre d'élement maximum est dépassé et n'a pas été enregistré)

photo
bernard

31/01/2023
00:26
re : GORGE CREMAILLERE

photo
bernard

31/01/2023
00:33
re : GORGE CREMAILLERE
(Le fichier "20230130_220715 222222222222222222222222222222222.jpg" est trop volumineux ou le nombre d'élement maximum est dépassé et n'a pas été enregistré)

photo
bernard

31/01/2023
00:47
re : GORGE CREMAILLERE

photo
tommybolin

31/01/2023
11:50
re : GORGE CREMAILLERE

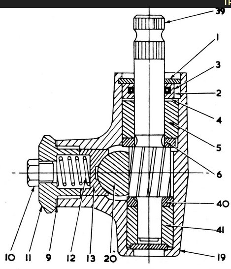
Bonjour Bernard,
Non pas de souci ce sont des rainures de graissage.
Gaffe à bien orienter côté pignon le chanfrein de la rondelle de butée qui vient au dessus. (n°40)
cdlt :)
bernard

31/01/2023
16:02
re : GORGE CREMAILLERE
Bonjour Merci Tommy je n'ai pas trouver ton plan de coupe si tu peux m'indiquer ou le trouver stp pour avoir la nomenclature des reperes .
Merci a toi.
bernard

31/01/2023
16:02
re : GORGE CREMAILLERE
Bonjour Merci Tommy je n'ai pas trouver ton plan de coupe si tu peux m'indiquer ou le trouver stp pour avoir la nomenclature des reperes .
Merci a toi.
tommybolin

31/01/2023
16:49
re : GORGE CREMAILLERE
C'est extrait d'un manuel TR6 mais mécanisme identique. voir ici:
https://www.triumphexp.com/forum/tr6-tech-forum.2/rack-and-pinion.1488186/
:)
bernard

31/01/2023
21:43
re : GORGE CREMAILLERE
Merci tommy super
bernard

03/02/2023
16:41
re : GORGE CREMAILLERE

Bonjour

Voila terminé merci pour votre aide .
Je passe au moteur.
Retour à la liste des messages

* : indique un auteur identifié comme membre de l'Amicale Spitfire


Ajouter un message à cette discussion
Nom email (n'apparaitra jamais sur le site) 872
Sujet

Option : Maxi 10 images uniquement JPEG (300Ko chacune) ou 5 PDF (5Mo chacun)

Attention ! Respectez ces formats et poids, sinon vos fichiers ne seront pas chargés.

Message

Recevoir par mail les réponses
Recopiez ici le numéro là haut à droite (système anti-robot)
Recharger le fil Cliquer une seule fois !

Si vous n'êtes pas adhérent, enregistrer votre pseudo évitera les trolls indésirables !

(c) 2025 Amicale Spitfire